行业动态

了解最新公司动态及行业资讯

污染土壤淋洗设备之振动筛分装备

2017-10-10 02:24:07 244 编辑:admin 来源:本站
  对污染场地的土壤采用淋洗进行修复时,需先对土壤根据粒径大小分级。在分级的过程中,需要采用喷淋水洗的方式使石块、粗砂砾表面附着的污染物大部分转移到筛分设备下面的泥水中。传统的振动筛仅局限于制造业、加工业等,其为一种适合细粒级难筛物料干法筛分的振动筛分机械设备。对于土壤淋洗技术而言,单一的振动筛无法满足淋洗工艺的需求。
  为了解决上述现有技术存在的问题,即对于土壤淋洗技术而言,单一的振动筛无法满足淋洗工艺的需求。土壤修复设备厂家郑州AG视讯环境提供一种污染土壤修复用淋洗振动筛分装备。
  1、污染土壤修复用淋洗振动筛分装备技术方案实现的 :
  一种污染土壤修复用淋洗振动筛分装备,包括 :振动筛、第一层筛网、第二层筛网、制泥机、淋洗剂比例混合装置、高压喷淋系统、高压泵、高压喷头、淋洗剂储罐和回用水箱,所述制泥机设置在振动筛初端的上部,振动筛内的上部设有第一层筛网,振动筛内的下部设有第二层筛网,第一层筛网和第二层筛网上下平行设置,淋洗剂比例混合装置的入口分别与淋洗剂储罐的出口和回用水箱的出口相连通,淋洗剂比例混合装置的出口与高压泵的入口相连通,高压泵的出口与高压喷淋系统相连通,高压喷淋系统的两端分别设有高压喷头,一个高压喷头设置在振动筛的上部,另一个高压喷头设置在制泥机内的上部。
  污染土壤修复用淋洗振动筛分装备还包括加热装置,所述加热装置安装在回用水箱上。
  本发明针对重金属、有机以及重金属与有机复合污染土壤,污染物吸附性强、较难去除的问题,开发了土壤修复用淋洗振动筛分装备,该装备可以将经过淋洗的污染土壤高效筛分成 2mm 以下、2 ~ 10mm 和 10mm 以上三类粒径级配的组分,淋洗液比例混合装置可有效控制淋洗液的最优投加量,同时,回用水箱的电加热装置可以保障淋洗液在冬季低温环境的最佳使用条件。
  2、污染土壤修复用淋洗振动筛分装备主要优点如下 :
  1)、可移动式的 / 基本实现全自动化振动筛分装备 ;
  2)、设备预计处理能力为 20m3/h ;
  3)、振次达到 900 次 / 分以上 ;
  4)、淋洗液投加量可控 ;
  5)、回用水箱温度可控,控温范围 30℃~ 80℃,可保证淋洗液低温环境最佳使用条件。
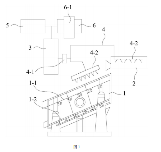
污染土壤修复用淋洗振动筛分装备的结构示意图
  图 1 为本发明污染土壤修复用淋洗振动筛分装备的结构示意图。
  图中的附图标记,1 为振动筛,1-1 为第一层筛网 ( 网孔 10mm),1-2 为第二层筛网( 网孔 2mm),2 为制泥机,3 为淋洗剂比例混合装置,4 为高压喷淋系统,4-1 为高压泵,4-2 为高压喷头,5 为淋洗剂储罐,6 为回用水箱,6-1 为加热装置。
  3、具体实施方式
  如图 1 所示,本实施例所涉及的一种污染土壤修复用淋洗振动筛分装备,包括 :振动筛 1、第一层筛网 1-1、第二层筛网 1-2、制泥机 2、淋洗剂比例混合装置 3、高压喷淋系统4、高压泵 4-1、高压喷头 4-2、淋洗剂储罐 5 和回用水箱 6,所述制泥机 2 设置在振动筛 1 初端的上部,振动筛 1 内的上部设有第一层筛网 1-1,振动筛 1 内的下部设有第二层筛网 1-2,第一层筛网 1-1 和第二层筛网 1-2 上下平行设置,淋洗剂比例混合装置 3 的入口分别与淋洗剂储罐 5 的出口和回用水箱 6 的出口相连通,淋洗剂比例混合装置 3 的出口与高压泵 4-1的入口相连通,高压泵 4-1 的出口与高压喷淋系统 4 相连通,高压喷淋系统 4 的两端分别设有高压喷头 4-2,一个高压喷头 4-2 设置在振动筛 1 的上部,另一个高压喷头 4-2 设置在制泥机 2 内的上部。
  进一步的,污染土壤修复用淋洗振动筛分装备还包括加热装置 6-1,所述加热装置6-1 安装在回用水箱 6 上。
  所述振动筛 1 的初端高于振动筛 1 的末端,其坡度为 25 ~ 35 度。
  4、各部件的工作过程和连接关系如下 :
  (1) 污染土壤进入制泥机 2 中,在制泥机 2 中设有高压喷头 4-2,高压喷头 4-2 可喷出高压淋洗液,使污染土壤给湿、淋洗、解泥,形成泥水混合物 ;
  (2) 制泥机 2 架设在振动筛 1 上,泥水混合物从制泥机 2 出来,掉入振动筛 1 上 ;振动筛 1 上设有第一层筛网 1-1( 网孔 10mm) 和第二层筛网 1-2( 网孔 2mm),这样泥水混合物可被筛分成三种组分,>10mm 的石块、2 ~ 10mm 的砂砾、<2mm 的泥浆 ;振动筛 1 上设有高压喷头 4-2,高压喷头 4-2 可喷出高压淋洗液,可对各组分的物料进行淋洗 ;
  (3) 高压喷头 4-2 与高压泵 4-1 相连接,高压泵 4-1 与淋洗剂比例混合装置 3 相连接,淋洗剂比例混合装置 3 与淋洗剂储罐 5 和回用水箱 6 相连接 ;
  (4) 回用水箱 6 上设有加热装置 6-1。

30

装备制造经验

立即免费获取土壤修复方案

为用户提供及时、高效、便捷的服务

在线咨询
AG视讯环境希望与你携手,共创美好未来...
5