钴污染土壤修复的方案都包括什么
2018-04-27 02:40:02
329
编辑:admin
来源:本站
目前土壤修复是我过的重中之中,全球经济迅速发展的同时也造成了口趋严重的环境污染问题,其中土壤重 金属污染备受瞩目。重金属在土壤中高度富集,恶化土壤环境质量,影响农作物的产量和品 质,严重危害土壤的生态循环,其通过食物链进入人体,危害人们的身体健康,威胁人类的 生存环境。在各种重金属中,高浓度的钴明显抑制植物生长发一育,因此土壤中钴污染越来 越受到人们广泛的关注。钴含最高的农产品也会损害人和动物的健康,造成心肌和胰腺损 伤,降低甲状腺浓缩碘的能力等。
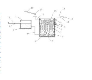
煤和石油燃烧等排放的废气中含有大量钴,废气遇到雨水沉降到地面,导致土壤钴污染严重 ,另外将微生物固定化技术得到国内外广 泛的关注钴污染土壤修复的设备,用于修复钴污染严重的土 壤。 为实现目的,我们就说下它的技术方案:一种钴污染土壤修复的方案,包括集 水池、集水沟、钴污染处理井、固定化微生物球、磁场发生装置、水泵和喷水管,所述集水池 连通多条集水沟,所述集水沟修筑在土壤表面,所述钴污染处理井从下到上依次为砂石层、 人工基质层和固定化微生物层。
联络方式:
郑州市长椿路11号国家大学科技园孵化1号楼513
电话:0371-61772378
邮箱:desenhuanjing@163.com
微信公众号
AG视讯环境抖音号